Representative photo. Please check item description for details.
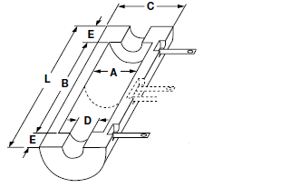
Watlow Ceramic Fiber Heater, Full Vestibule
https://www.branom.com/shop/vs105a12s-b001r-watlow-ceramic-fiber-heater-full-vestibule-547448
https://www.branom.com/web/image/product.template/547448/image_1920?unique=c26756c
(0 review)